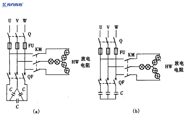
低壓電容器放電保護措施
低壓電容器在電力系統中提供無功功率補償,穩定電壓,改善電網質量。然而,在使用過程中,電容器的放電現象可能會對設備造成損壞或影響系統的正常運行。為了保障設備的穩定運行,通常需要采取一系列的放電保護措施,比如:
首先,我們需要關注電容器的額定電壓和額定容量。電容器的額定電壓是指其可以正常工作的最高電壓值,我們需要確保電壓不超過其額定電壓,否則容易發生放電現象。同時,電容器的額定容量也需要與系統運行需求相匹配。
其次,要正確選擇電容器的柔性連接方式。柔性連接不僅可以減少電壓沖擊,還可以降低過電壓對電容器的影響,避免放電現象的發生。常用的柔性連接方式有電纜連接和閘閥連接,根據實際情況進行選擇。
然后,還可以采取外部限流電阻來限制電容器的放電電流,保護設備的安全運行。限流電阻的選取需要考慮電容器的額定電壓和額定容量,確保限流電阻能夠適應電容器的放電需求。
最后,定期檢查和維護電容器也是非常重要的。通過定期檢查,可以及時發現電容器的故障或損壞,并進行修復或更換。定期維護可以延長電容器的使用壽命,確保其正常運行。
低壓電容器放電保護措施是保障設備穩定運行的關鍵,需要合理使用保護措施。只有這樣,才能確保電容器能夠正常工作,保障電力系統的穩定運行。
“推薦閱讀”
- 2026-02-11 SVG在處理三相電不平衡方面效果如何
- 2026-02-11 庫克庫伯對某電站無功罰款問題分析及優化建議
收藏庫克庫伯
網站地圖
全國24小時服務熱線400-607-8886






聯系方式/CONTACT INFORMATION
